
CHT horizontale hijsklemmen voor dunne platen
Toepassing: Hijsen van dunne platen
Bekopening: 0 – 35mm
WLL: Maximum 2 ton
Varia: Tot hardheid 37RC
Offerte
Vraag gerust vrijblijvend een offerte aan.
Kenmerken:
Altijd per paar gebruiken. WLL en afmeting van de bekopening zijn duidelijk op de klem aangegeven. Veiligheidsfactor van minimaal 5 x WLL. Elke klem is 2 x WLL proefbelast.
Toepassing:
Voor het hijsen van dunne stalen platen platen in horizontale positie tot een hardheid van 37RC (345 HB).
Norm:
EN12100-1/2, EN13155, AS4991, ASME-B30,20
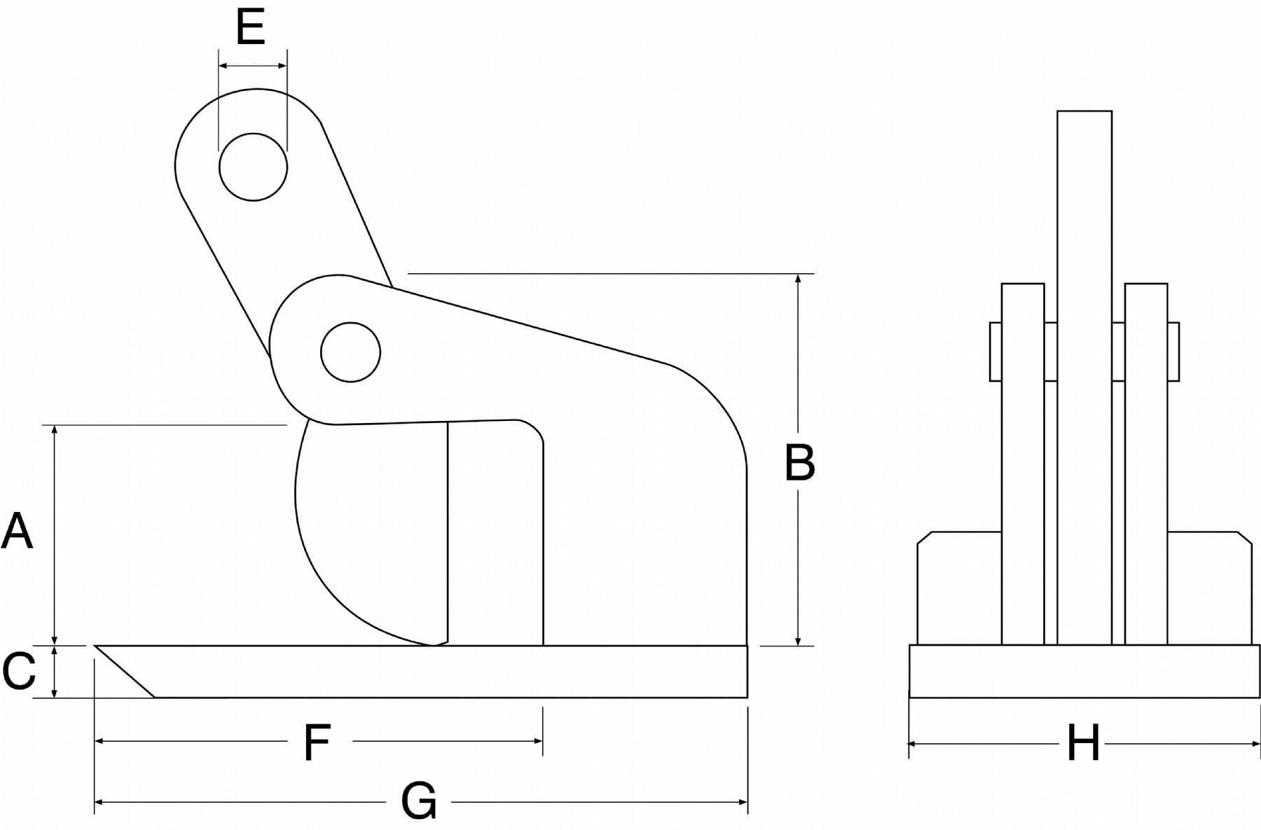
| Artikel nr. | Type | Veilige Werklast (Kg) | Bek-opening (mm) | A (mm) | B (mm) | C (mm) |
| 5004051 | CHT-1.0 | 1000/2 | 0-15 | 0-15 | 85 | 10 |
| 5004052 | CHT-2.0 | 2000/2 | 0-35 | 0-35 | 135 | 20 |

| Type | D (mm) | E (mm) | F (mm) | G (mm) | Gewicht (Kg) |
| CHT-1.0 | 22.5 | 99 | 140 | 65 | 5/2 |
| CHT-2.0 | 26 | 114 | 180 | 90 | 16/2 |


