
CHTV horizontale hijsklemmen met veer
Toepassing: Horizontaal transporteren van staalplaten
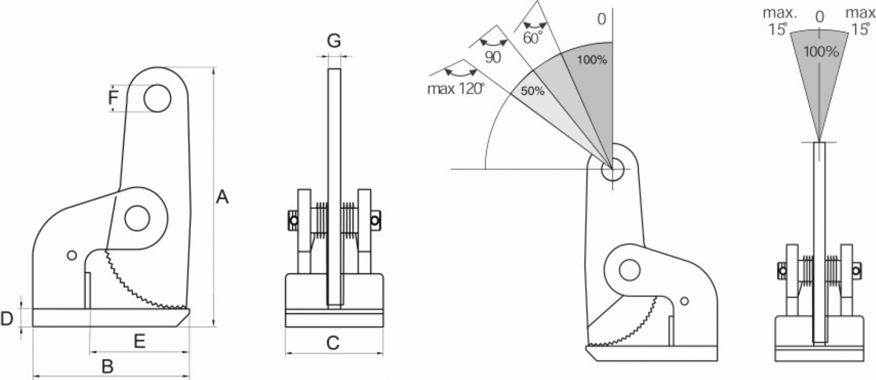
Bekopening: 0 – 60mm
WLL: Maximum 6 ton
Varia: Voorzien van torsieveer waardoor klem op plaats blijft
Offerte
Vraag gerust vrijblijvend een offerte aan.
REMA CHTV horizontale klemmen zijn voorzien van een torsieveer waardoor de hijsklem dicht blijft op de gewenste plaats. 1 persoon kan 4 klemmen plaatsen en een kraan bedienen.
Toepassing:
Voor het horizontaal transporteren van staalplaten. 1 persoon kan 4 klemmen plaatsen en een kraan bedienen.
Norm:
EN12100-1/2, EN13155, AS4991, ASME-B30,20
| Artikel nr. | Type | Veilige werklast (Kg) | Bek-opening (mm) | A (mm) | B (mm) | C (mm) |
| 5004058 | CHTV-1 | 1000/2 | 0-35 | 193 | 140 | 85 |
| 5004059 | CHTV-2 | 2000/2 | 0-60 | 290 | 180 | 125 |
| 5004060 | CHTV-3 | 3000/2 | 0-60 | 293 | 180 | 125 |
| 5004061 | CHTV-4 | 4000/2 | 0-60 | 310 | 220 | 165 |
| 5004062 | CHTV-6 | 6000/2 | 0-60 | 310 | 220 | 165 |

| Type | D (mm) | E (mm) | F (mm) | G (mm) | Gewicht (Kg) |
| CHTV-1 | 10 | 100 | 25 | 15 | 6/2 |
| CHTV-2 | 15 | 115 | 30.5 | 16 | 18/2 |
| CHTV-3 | 20 | 115 | 30.5 | 16 | 20/2 |
| CHTV-4 | 30 | 140 | 30.5 | 20 | 30/2 |
| CHTV-6 | 30 | 140 | 30.5 | 20 | 30/2 |


