
KSB spindel balkenklemmen
Toepassing: Hijsen van stalen balken of vast ophangpunt.
Bekopening: 80 – 350mm
WLL: Maximum 10 ton
Varia: Geschikt voor IPE- en INP-balken.
Offerte
Vraag gerust vrijblijvend een offerte aan.
Voor het veilig hijsen en verplaatsen van stalen balken of als vast ophangpunt.
Kenmerken:
Lage bouwhoogte. Eenvoudige montage door spindel. Geschikt voor IPE- en INP-balken. Veiligheidsfactor 4 x WLL.
Norm:
EN12100-1/2, EN13155, AS4991, ASME-B30,20
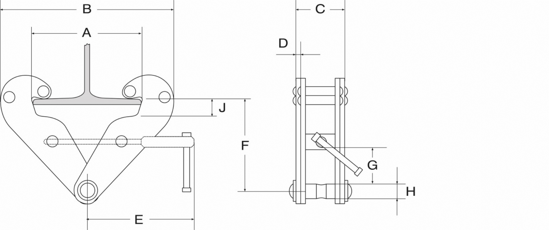
| Artikel nr. | Type | Veilige werklast (Kg) | Bek-opening (mm) | A max (mm) | B max (mm) | B min (mm) | C (mm) | D (mm) |
| 5004905 | KSB -1 | 1000 | 75 – 220 | 220 | 360 | 180 | 64 | 5 |
| 5004906 | KSB-2 | 2000 | 75 -220 | 220 | 360 | 180 | 74 | 6 |
| 5004907 | KSB-3 | 3000 | 80 – 320 | 320 | 490 | 235 | 103 | 8 |
| 5004908 | KSB-5 | 5000 | 80 – 320 | 320 | 490 | 235 | 110 | 10 |
| 5004909 | KSB-10 | 10000 | 90 – 320 | 320 | 520 | 250 | 120 | 12 |

| Type | E (mm) | F max (mm) | F min (mm) | G (mm) | H (mm) | J (mm) | Gewicht (Kg) |
| KSB-1 | 215 | 155 | 102 | 25 | 22 | 20 | 5.5 |
| KSB-2 | 215 | 155 | 102 | 25 | 22 | 20 | 6 |
| KSB-3 | 260 | 225 | 140 | 45 | 24 | 38 | 11.5 |
| KSB-5 | 260 | 225 | 140 | 45 | 28 | 38 | 12 |
| KSB-10 | 280 | 230 | 160 | 70 | 44 | 38 | 17 |


